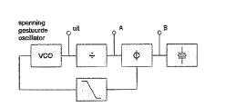
Regellus met fasevergelijkingschakeling.
Phase Locked Loop (PLL)
Een PLL wordt gebruikt om de frequentie heel nauwkeurig in te stellen.
Regellus met fasevergelijkschakeling
De regellus werkt door het toevoeren van twee bloksignalen van gelijke frequentie aan een XOR schakeling, waarbij het faseverschil van de twee signalen resulteert in een gemiddeld heel nauwkeurige uitgangspanning.
Als we dit uitgangsignaal als referentiespanning terugvoeren naar de ingang van de oscillator het geringste verschil in fase te detecteren.
Op de punten A en B zijn de frequenties gelijk.
Figuur 1
Figuur 2
┘
┘
Les 20