Regellus met instelbaar deeltal.
Regellus met instelbaar deeltal
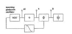
Door nu in een regellus een frequentiedeler op te nemen en de opgewekte frequentie steeds te vergelijken met een referentiefrequentie (meestal een kristal), dan kunnen we door het instellen van het deelgetal hele kleine frequentievariaties opwekken.
Figuur 1
┘