jj_08_01_001v
-


005

Een ampèremeter heeft een inwendige weerstand van 20 Ohm.
Met een parallelweerstand van 5 Ohm is het meetgebied 20 mA.
Het meetgebied zonder parallelweerstand is:

a   5 mA
b   4 mA
c   15 mA
d   16 mA
001

Een gloeilamp van 24 V en 50 mA wordt via een weerstand aangesloten op een spanning van 60 V.
Hoe groot is de voorschakelweerstand?

a   1500 Ohm
b   480 Ohm
c   720 Ohm
d   1200 Ohm
-


002

In een voltmeter wordt gebruik gemaakt van een instrument dat bij 1 mA volle uitslag vertoont.
Het instrument heeft een te verwaarlozen inwendige weerstand.
Welke serieweerstand moet worden toegepast om een meetbereik van 50 Volt te verkrijgen?

a   20 Kohm
b   200 Kohm
c   5 Kohm
d   50 Kohm
-


003

Voor het verkrijgen van een 10 V- en een 30 V-bereik moeten R1 en R2 zijn

a   100 Kohm en 297 Kohm
b   97 Kohm en 200 Kohm
c   97 Kohm en 297 Kohm
d   100 Kohm en 194 Kohm
-


004

Een gloeilamp van 12V//200mA wordt met behulp van een voorschakelweerstand aangesloten op een spanning van 24V.
De juiste waarde van de voorschakelweerstand is:

a   24 Ohm
b   36 Ohm
c   60 Ohm
d   12 Ohm
-


006

De stroom die een gelijkstroomvoeding levert wordt met een multimeter gemeten.
De meter gedraagt zich als een :

a   weerstand met lage waarde
b   weerstand met hoge waarde
c   isolator
d   ideale geleider
-


008

De waarde Rx is:

a   180 Kohm
b   90 Kohm
c   30 Kohm
d   20 Kohm
-


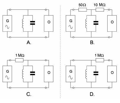
009

Met behulp van een signaalgenerator (G) en een oscilloscoop (O) wordt de  resonantiefrequentie van een parallelkring bepaald (1-5 MHz).
De uitgangsimpedantie van de generator is 50 ohm, de ingangsimpedantie van de oscilloscoop is 10 Mohm.
De beste schakeling is:

a
b
c
d
-


007

Als een digitale universeelmeter als spanningsmeter wordt gebruikt is de ingangsweerstand:

a.nul
b.laag
c 10 Kohm
d zeer hoog
-


010

Gegeven:
volle uitslag bij 50V en 20μA

Gevraagd :
R in ohm per volt
-


011

Gegeven:
M1 = 100mV
Afwijking 2% volle schaal

M2 = 1V
Afwijking1% volle schaal

Fs = full scale = maximale uitslag.

Gevraagd:
Gevoeligheid en nauwkeurigheid.